Patente da Sony sugere IA que joga sozinha quando o jogador fica travado no PlayStation !!

A Sony registrou uma nova patente que, se um dia sair do papel, pode mudar bastante a forma como lidamos com momentos de frustração nos jogos de PlayStation. A ideia é simples de explicar, mas ousada na execução: jogos que se jogam sozinhos com ajuda de IA quando o jogador empaca.

https://i.gyazo.com/d4bcbc43d981998af6e5531c814dcda1.jpg 

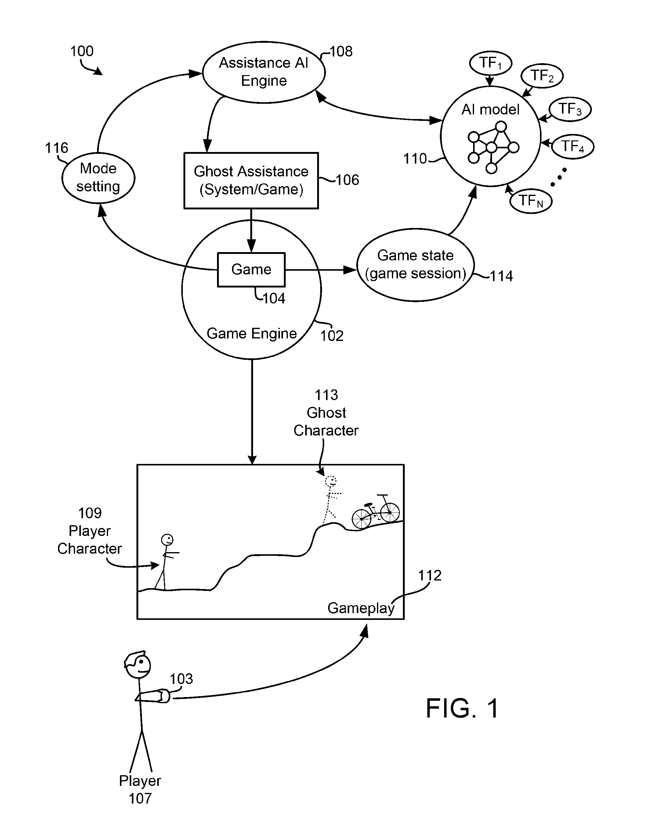
O sistema, descrito nos documentos como “Ghost Player”, cria uma versão fantasma do próprio personagem do jogador, controlada por inteligência artificial. Esse “fantasma” pode tanto mostrar como resolver um trecho específico quanto completar a parte inteira automaticamente.

Guia ou piloto automático

Segundo a patente, haveria dois modos principais. No Guide Mode, o jogador chamaria a IA para demonstrar a solução. Imagine estar preso em um puzzle de Uncharted e ver um Nathan Drake controlado por IA mostrar exatamente o que fazer, passo a passo, antes de você tentar sozinho.

https://i.gyazo.com/6c3512b0bc3c86c7246b78df21bce860.png 

Já o Complete Mode vai direto ao ponto. A IA simplesmente passa daquela seção por você. Sem dor, sem repetição, sem controle quebrado no meio da sala. Sistemas de ajuda não são novidade. Muitos jogos já permitem pular trechos difíceis, reduzir a dificuldade ou ativar dicas em puzzles. A diferença aqui é que a solução não seria pré-programada pelos desenvolvedores, mas gerada por uma IA treinada com imagens e vídeos reais do próprio jogo.

Evolução do PS5 Game Help

O Ghost Player parece uma evolução natural do PS5 Game Help, lançado junto com o console. Quando suportado, esse sistema exibe imagens ou vídeos com dicas diretamente pelo menu de cards, sem precisar recorrer ao celular ou a um guia externo.

Ele nunca foi amplamente adotado, mas ganhou elogios especialmente de quem caça troféus, justamente pela praticidade. A proposta da IA fantasma vai além. Em vez de assistir a alguém jogar, o jogo acontece ali, na sua frente, dentro da sua própria partida.

Assistência demais?

Curiosamente, esse assunto já gera debate entre os próprios fãs da Sony. Jogos como God of War Ragnarök foram criticados por alguns jogadores por exagerarem nas dicas, com NPCs praticamente entregando a solução de puzzles segundos depois do início.

Com uma IA capaz de jogar por você, a discussão sobre até onde vai a ajuda e onde começa a quebra da experiência certamente vai ganhar força.

Calma, é só uma patente

Vale reforçar: não há confirmação de que essa tecnologia será usada em jogos futuros ou no próximo PlayStation. Patentes como essa são registradas aos montes, muitas nunca veem a luz do dia. Ainda assim, o timing é interessante. Assistentes de IA estão cada vez mais presentes nos games. A Microsoft, por exemplo, já apresentou o Copilot for Gaming, descrito como um “companheiro personalizado”, capaz de ensinar mecânicas, sugerir estratégias e até instalar jogos para o jogador.

A Sony, ao que tudo indica, está explorando o mesmo território. Se isso vai resultar em algo prático ou ficar apenas nos arquivos de patentes, só o tempo dirá. Mas a ideia de chamar um “eu melhorado por IA” para salvar aquela parte impossível do jogo… bom, isso definitivamente vai render conversa.

0 Comentários

Postar um comentário

Post a Comment (0)

Postagem Anterior Próxima Postagem